Каталог товаров

Наконечник болтовой НБ-0 (16-25 мм2)

Артикул: 120401-00501
Нет на складе
Есть в наличии
0
283
+
Оптовая цена: 275 (мин: 50 шт.)
Наличие:
Москва: 3 шт.
Екатеринбург: 0 шт.
Условия доставки

Доставка бесплатная* до 10000 - 500 рублей

Условия оплаты
  • 14 дней возврат/обмен
  • 2 года гарантия
Описание

Предназначен для оконцевания алюминиевых и медных жил проводов и кабелей.

Закрепление наконечника на жилах проводов и кабелей осуществляется методом завинчивания болта со специальной срывной головкой, которая скручивается при достижении определенного усилия, обеспечивая надежное соединение.

Продукция соответствует: ТУ 3449-014-99856433-2013.

Преимущества наконечника болтого НБ со срывающейся головкой:
• Не требует применения сложного и дорогостоящего инструмента;
• Занимает меньше времени по сравнению с монтажом методом опрессовки или пайки;
• Не требует наличия высокой квалификации у электромонтажника;
• Соединитель одного типоразмера возможно использовать на несколько сечений жил кабеля;
• Предназначены для соединения любого типа проводников: круглых и секторных, одножильных и многожильных;
• Рекомендованы для монтажа термоусаживаемых муфт и оснащения ремонтно-аварийных служб.

Сечение жил, мм² от 16 до 25
Напряжение, кВ до 10
Климатическое исполнение УХЛ3
Материал корпуса Алюминиевый сплав Д16Т
Метод монтажа Болтовой
Усилие на срыв болта, Н*м 20
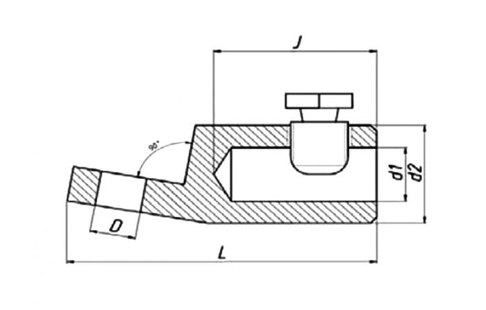
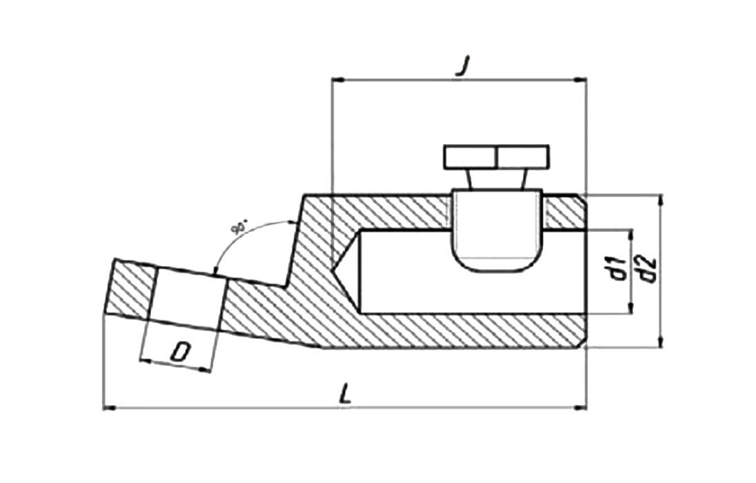
Габаритные размеры, мм
- d1 М9х1,5
- d2 16
- L 50
- J 28
- D 6
Масса, г 22
Отзывы
Пока нет комментариев
Написать отзыв
ФИО*
Email
Введите комментарий*